
It’s absolutely uncalled for and also pleasant to see that there’s much development going on in the world of 3D. Here’s a bit of a mish-mash-recap of what’s being talked about and a splash about how it all relates to product development.
Sony Offers 3D Holographic Disp-LAME
Seriously, this is the not how anyone pictures holographic displays, except for the guys Sony contracted to do create it. It actually looks similar to an Interactive 360º holographic light display we saw a couple years ago from a group out at USC. C’mon Sony, spread your wings.
The idea of holograms being used in design is almost cliche, but the concept is cool. There is some neat touchable hologram research being done in this area, so that kinda squishes all the aspects of what would be needed for a more usable design interface rather than simply a visual treat for the eyes.
Nokia Explore Next Dimension of Multi-Touch
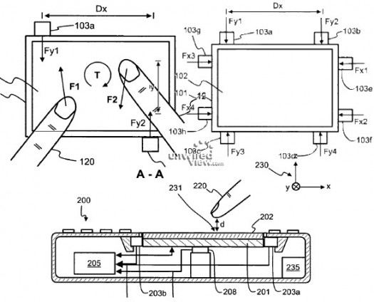
You can’t have new display news without harping on continuously about multi-touch. Nokia, most likely feeling a little pressure from massive iPhone sales, has been playing with a patent for multi-touch tech as well. However, they’re not satisfied with only the X and Y. They want to bring in the Z. Their new patent, with visual shown below, states:
“A processor unit is arranged to control the electronic device on the basis of the location indicator and the force indicator. A user of the electronic device is enabled to control the electronic device by using different levels and directions of force and/or torque directed to the sensor surface.”
Interesting news, and even though it most definitely relates to their mobile devices, you can imagine how this could be applied to any type of input device for mobile, netbook, tablet or any other type of touch device. The logical next step is simply electrodes plugged into a bowl of jelly allowing you to squish and squeeze your design environment into order… or, yeah ok, the holograms above.
3D Will Attack Your Oculars
Maybe ‘attack’ is a bit of a strong word. How about absorb and enslave? Yes, much better. Many people are wondering about the future of 3D in the home and how the it will go from theater and trade show to wall and countertop of regular ol’ joe and mary couch potato. Good news, you’ll be glad to know that the old anaglyph red and blue glasses will not be part of the month of paychecks you’ll pay for future 3D goods.
First, you’ll start seeing new types of glasses. Polarized Lens and LCD shutter lenses. Polarized lenses were used way back in the early days of 3D, but with new digital technology, it’s seeing a resurgence in a lot of Pixar films and the upcoming James Cameron movie, Avatar (Youtube Trailer). LCD lenses work a little the same way, by synchronizing the glasses with the HD frames. Both pretty cool, but leave much to be desired when wanting a completely unhindered, life-like visual.
Next you’ll be seeing this technology come through on the display for sports and gaming.
But even this is not the future. It is, but it’s happened and is being used right now, just not in the home so much. The real future of all of this 3D stuff is being able to view real-time or recorded 3D without lenses or displays. However, until they can get the visuals a little clearer without using lenticular screens or spinning mirrors, the future is exactly where all this cool 3d tech is going to stay.
Sony Hologram via CNET
Nokia 3D multi-touch via MobileTopSoft
More 3D via Engadget


