Nike made a splash with their self-lacing shoes, but a foot isn’t the only place to take advantage of auto-adjusting tech.
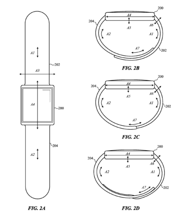
According to AppleInsider, Apple was granted US Patent No. 9,781,984 for a self-adjusting Apple Watch band—leaving puny straps, buttons, velcro, clasps and every other attachment ‘inconvenience’ in its wake.

Reads the patent’s abstract:
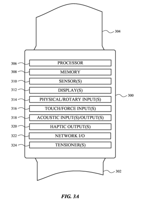
“Systems and methods for dynamically adjusting the fit of a wearable electronic device are disclosed. In many embodiments, a tensioner associated with a wearable electronic device can control one or more actuators that are mechanically coupled to either the housing or to a band attached to the wearable electronic device. In one example, in response to a signal to increase the tightness of the band, the tensioner can cause the actuator(s) to increase the tension within the band.”

While it’s easy to write this off as a solution looking for a problem, the Apple Watch has become a remarkably efficient health monitoring device for many people—many of whom may not have the dexterity to take the watch on and off daily.
If you’re curious to learn more about the tech, head over to read the patent in full.

