I swore I would never buy a Replicator 2 — I don’t trust companies led with charisma. Then the sleepless nights began. I couldn’t get the beautiful black metal chassis out of my head. Three point leveling. That squirrel cage extrusion cooling fan…yowzahs. Finally, after many a late night sneaking out of bed and into the study to watch YouTube videos of the seductive machine build layer after layer of beautiful, brilliantly cooled plastic, a friend sold me his used Replicator 2. He just couldn’t keep it from clogging.
Filled with a mixture of self hatred and childish joy, I restrained myself from printing until I installed the number one most important upgrade ever — the Spring-loaded Replicator 2 Drive Block. This filament drive upgrade was a collaborative design effort between community members whpthomas, emmett, and whosawhatsis. Makerbot contributed as well, with their branding, but that’s OK — they still credit the designers.
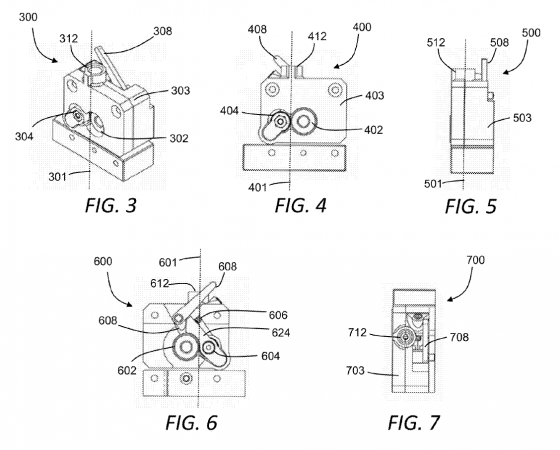
This drive block is a make by ffleurey.
My Replicator 2 is freaking awesome, but it’s not because MakerBot made a quality machine, it’s because their community was highly engaged and motivated to contribute. The community has stepped up on several issues and provided excellent fixes. Most significantly — Sailfish firmware and that new drive block. These things happened because the machine was partially open source. Now, there’s no need to go into the whole open source, closed source story with MakerBot. If you want to brush up, google it. Fortunately (’cause we all need something to argue about), MakerBot has upped the ante. Now they’re patenting the designs of their community!
Here’s a list of a bunch of MakerBot’s recent patent applications.
This patent, in particular, outlines a spring-loaded quick release drive block:
What I see here is a design based firmly on that credited to whpthomas, emmett, and whosawhatsis, with the addition of a bi-stable quick release mechanism. That quick release may be a novel enough addition to qualify for a patent of its own, but this patent covers other aspects of the design that were developed by the community.
Time to recap: community designs critical improvement to Replicator 2, MakerBot builds on top of that for closed source printer, MakerBot then patents design built on top of community work. OK, clear? Great, so, lots of people are angry, and that’s justified. I’d be livid if I were one of those designers! Seriously, take a moment to put yourself in that position.
Yeah, that’s grounds for anger. Thankfully, MakerBot is digging their own grave. Is Thingiverse ‘safe’ from TakerBot? Who’s going to fix their new, closed source printers? The Replicator 2 is worth buying thanks to the community’s contributions. The fifth generation machines are plagued with extruder problems. It’s a good thing they’ve got Daddy Stratasys paying the bills, supplying the IP, and hopefully fixing the serious bugs.
I am, though, a little nervous about the implications for the RepRap community. RepRap has the most to lose here, and they don’t really have much money for lawyers. If companies like MakerBot (Stratasys) start to file and enforce patents on designs that have origins in RepRap, we could potentially find ourselves stagnating innovation in 3D printing for years to come. RichRap has a great summary. Read up.
What You Can Do.
Do you want to support a company that steals from people like you? We all benefit from the RepRap community and open source projects. We won’t benefit from threatening those things. I’m taking action, and I want you to do the same!
- Don’t buy MakerBot 3D printers or filament. The new ones have issues and it’s unclear who’s going to fix them. Make sure you know exactly what you’re getting yourself into. There are other printers, and there are a dozen great filament sources. Toy Builder Labs has affordable, high quality PLA, and if you order enough at once they send you a free part spatula that works really well.
- If you’re on Thingiverse, host your designs on Ultimaker’s YouMagine as well. Let’s face it, if you want people to see your models, you kind of need to be on Thingiverse. I’ll still host my stuff there, but I’ll start paying equal attention to my presence on YouMagine as well. By adding content to the site, you’ll allow YouMagine to grow. Keep an eye out for new players in this space, too, like Bld3r: an open source Reddit style platform.
- Document (and publish) your work. If you aren’t really, truly planning to file a patent for your work, make it public and establish prior art. Are you working on 3D printers? Publish it, date it, and document the crap out of it. If you see patents that look fishy, say something. If you’re really motivated, file prior art.
Lastly, ask questions, don’t take marketing at face value, and start discussions. Comment on blogs (like this one). If a company puts a lot of money into marketing, ask yourself why. Judging by the lack of response from MakerBot, they’re ignoring the outcry over these patents. It may die down; similar outrage in the past hasn’t slowed down MakerBot. Whatever you do, don’t be seduced by MakerBot — I want you to recognize the repeating patterns in MakerBot’s behavior. Don’t support companies that say one thing and do another.





